Запасные части ЧТЗ Запасные части ЧТЗ
Салехард
Например:
Актобе
Алдан
или
Выбрать автоматически
Актобе
Алдан
Алматы
Алчевск
Архангельск
Астана
Астрахань
Атырау
Баку
Балашиха
Барнаул
Белгород
Бердянск
Бишкек
Владивосток
Владикавказ
Воркута
Воронеж
Горловка
Грозный
Донецк
Екатеринбург
Иваново
Ижевск
Иркутск
Казань
Калининград
Каменск-Уральский
Караганда
Каховка
Кемерово
Киров
Комсомольск-на-Амуре
Костанай
Краснодар
Красноярск
Красный луч
Ленск
Луганск
Магадан
Магнитогорск
Макеевка
Махачкала
Мелитополь
Минск
Мирный (Якутия)
Москва
Мурманск
Нерюнгри
Нижневартовск
Нижний Новгород
Нижний Тагил
Новая каховка
Новокузнецк
Новосибирск
Новый Уренгой
Норильск
Ноябрьск
Нур-Султан
Омск
Оренбург
Ош
Павлодар
Пермь
Петрозаводск
Петропавловск
Петропавловск-Камчатский
Псков
Ростов-на-Дону
Салехард
Самара
Санкт-Петербург
Саратов
Севастополь
Семей
Симферополь
Сочи
Ставрополь
Сургут
Сыктывкар
Тараз
Ташкент
Токмак
Томск
Тында
Тюмень
Ульяновск
Усинск
Усть-Каменогорск
Уфа
Хабаровск
Ханты-Мансийск
Херсон
Челябинск
Чита
Шымкент
Экибастуз
Энергодар
Южно-Сахалинск
Якутск
Ваш город
Салехард
Войти
Запасные части к тракторам на одном сайте
+7 (932) 303-00-10
+7 (932) 303-00-10
г. Салехард, ул. Республики, д. 76
Пн-Пт: 9:30-18:30 Cб-Вс: Выходной
Отправить заявку


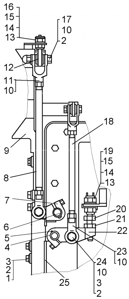
Детали управления коробкой передач болотоходного трактора на Т10М / Б10М


/
с НДС 20%
Описание
Детали управления коробкой передач болотоходного трактора Т10М
#Номер запчастиНаименование деталиКол-во в сборке
1-Болт М10-6g×40.58.0196
2-Шайба 10 ОТ 65Г 098
331308-1Шайба8
464-12-318Проставка2
5-Шпонка 4×6,52
664-12-450Валик1
764-12-337Рычаг1
864-12-457-03Тяга1
964-12-274СПКолонка управления1
10-Гайка М10-7Н.6.0195
1124-74-98Вилка2
1231437Шайба4
13-Выключатель ВК 4152
14700-31-2797Шайба8
1530202Гайка2
16-Шайба 14 ОТ 65Г 092
17700-28-2483-01Болт2
1864-12-457-02Тяга1
19700-31-2796Шайба1
20700-28-2706Болт2
21-Гайка М8-7Н.6.0191
2264-12-455Рычаг1
2362-26-621СПШарнир2
2404207Болт2
25700-40-7262Прокладка1
Детали управления коробкой передач болотоходного трактора