Запасные части ЧТЗ Запасные части ЧТЗ
Салехард
Например:
Актобе
Алдан
или
Выбрать автоматически
Актобе
Алдан
Алматы
Алчевск
Архангельск
Астана
Астрахань
Атырау
Баку
Балашиха
Барнаул
Белгород
Бердянск
Бишкек
Владивосток
Владикавказ
Воркута
Воронеж
Горловка
Грозный
Донецк
Екатеринбург
Иваново
Ижевск
Иркутск
Казань
Калининград
Каменск-Уральский
Караганда
Каховка
Кемерово
Киров
Комсомольск-на-Амуре
Костанай
Краснодар
Красноярск
Красный луч
Ленск
Луганск
Магадан
Магнитогорск
Макеевка
Махачкала
Мелитополь
Минск
Мирный (Якутия)
Москва
Мурманск
Нерюнгри
Нижневартовск
Нижний Новгород
Нижний Тагил
Новая каховка
Новокузнецк
Новосибирск
Новый Уренгой
Норильск
Ноябрьск
Нур-Султан
Омск
Оренбург
Ош
Павлодар
Пермь
Петрозаводск
Петропавловск
Петропавловск-Камчатский
Псков
Ростов-на-Дону
Салехард
Самара
Санкт-Петербург
Саратов
Севастополь
Семей
Симферополь
Сочи
Ставрополь
Сургут
Сыктывкар
Тараз
Ташкент
Токмак
Томск
Тында
Тюмень
Ульяновск
Усинск
Усть-Каменогорск
Уфа
Хабаровск
Ханты-Мансийск
Херсон
Челябинск
Чита
Шымкент
Экибастуз
Энергодар
Южно-Сахалинск
Якутск
Ваш город
Салехард
Войти
Запасные части к тракторам на одном сайте
+7 (932) 303-00-10
+7 (932) 303-00-10
г. Салехард, ул. Республики, д. 76
Пн-Пт: 9:30-18:30 Cб-Вс: Выходной
Отправить заявку


Установка гидравлической системы подетально на Т-170


/
с НДС 20%
Описание
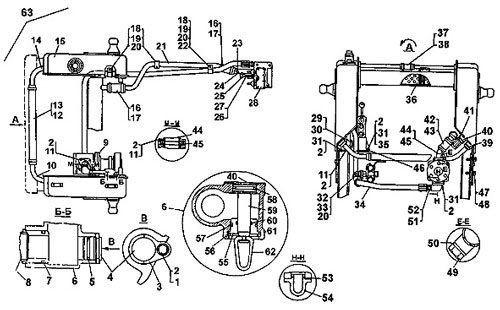
Установка гидравлической системы Т-170
Поз.Номер по каталогуНаименование детали
1М12х25.58.019Болт
212 ОТ 65Г 09Шайба
318-15-113Планка
418-26-678Втулка
5032-040-46-2-2Кольцо
648-26-115СПКран
7700-40-7321Кольцо
848-26-135СППатрубок
9Установка привода насоса 50-26-85СП
1018-26-518СПТруба
11М12x30.58.019Болт
12700-46-2141Рукав
13700-41-2223СПХомут
1418-26-517СПТруба
1550-26-206СПБаки гидросистемы
1550-26-404СПБаки гидросистемы
1548-26-210СПБаки гидросистемы болотоходных тракторов
16700-40-5968Рукав
1718-26-320СПХомут
18700-41-2985Хомут
19М10x20.58.019Болт
2010 ОТ 65Г 09Шайба
2150-26-151Труба
22700-40-6826Прокладка под хомут
23ММ126-ДДатчик аварийного давления
24Труба 50-26-168СП
25Р150-075Штуцер
2650-26-124СПТруба
2740920Кольцо
2850-26-702СПГидрораспределитель
29М8х25.88.019Болт
308Т 65Г 09Шайба
31М12х40.58.019Болт
32М10-6.019Гайка
3331308-1Шайба
34Рукав Н036.88.750-01 высокого давления Н-25, армированный
353011Гайка
3650-26-395СПФильтр
3650-26-394СПФильтр гидросистемы
37700-40-3487Рукав
38700-41-2228СПХомут
39700-40-7341Прокладка
40Прокладка 700-40-7325
4150-26-139Гайка
42700-40-3552Рукав
4337-26-139СПХомут
4418-26-441СППатрубок
45060-070-58-2-2Кольцо
4618-26-436Планка
47Болт М24Х65.110.019
4824Т 65Г 09Шайба
4918-26-350СППробка магнитная
50018-022-25-2-2Кольцо
5146764Кольцо
52700-41-3269Штуцер
53038-046-46-2-2Кольцо
54Муфта угловая 50-26-129
5518-26-397Втулка
56700-58-2504Кольцо пружинное
57042-050-46-2-2Кольцо
58Кольцо 035-043-46-2-2
5918-26-396Поршень
60022-028-36-2-2Кольцо
6148-26-30Корпус
6218-26-616Фиксатор
6350-26-40СПУстановка гидравлической системы
6348-26-4СПУстановка гидравлической системы на тракторы болотоходных моделей
6350-26-26СПУстановка гидравлической системы на тракторы Т-170.00, Т-170.01
6350-26-40-03СПУстановка гидросистемы на трактор негидрофицированный без привода гидронасосов и гидроусилителя с гидробаками без цапф
6350-26-40-01СПУстановка гидросистемы на тракторы болотоходных моделей
6350-26-04СПУстановка гидросистемы на тракторы двойного назначения
6350-26-40-02СПУстановка гидросистемы на тракторы с баками без цапф с боковыми бонками под дополнительные фары
Установка гидравлической системы подетально